Траверси низьковольтні ТН
Траверси низьковольтні ТН для ліній 0,4 кВ
Компанія ZavodikNT (ФОП Нестеров А. Ф.) пропонує виробництво траверс низьковольтних для ЛЕП в Україні, Дніпро.
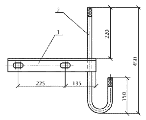
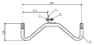
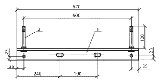
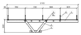
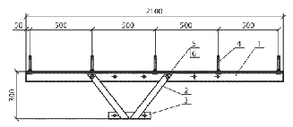
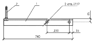
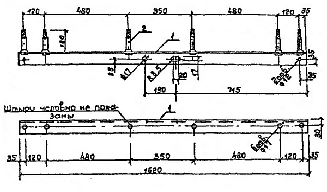
Траверси низьковольтні ТН застосовуються в повітряних лініях електропередач номінальною напругою 0,4 кВ для безпечного закріплення проводів на опорах ЛЕП. Для виготовлення низьковольтних траверс використовується вуглецева сталь без легуючих добавок. Антикорозійний захист траверс виконується гальванічним покриттям цинком або нанесенням шару порошкової фарби.
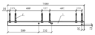
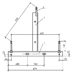
Випускаються модифікації траверси ТН забезпечують можливість кріплення проводів на дерев'яних ,металевих і залізобетонних опорах різного перерізу. Траверси низьковольтні ТН кріпляться на опорах за допомогою хомутів, що підбираються індивідуально до опори і траверсе.
Наша компанія виробляє і інші металоконструкції для ЛЕП.
Адреса та контакти за посиланням Контакти.
Наша компанія може виготовити низьковольтні траверси за такими типовими проектами:
| Траверса ТН1 3.407.1-136.01.01 Траверса ТН1 1.14/6-05 Траверса ТН1с 3.407.1-173.1-20 Траверса ТН2 3.407.1-136.01.02 Траверса ТН2 1.14/6-07 Траверса ТН2с 3.407.1-173.1-20 Траверса ТН3 3.407.1-136.01.05 Траверса ТН3 3.407.1-136.3-23 Траверса ТН3с 3.407.1-173.1-21 | Траверса ТН4 3.407.1-136.08.01 Траверса ТН4 3.407.1-136.3-24 Траверса ТН4с 3.407.1-173.1-21 Траверса ТН5 3.407.1-136.09.01 Траверса ТН5 3.407.1-136.3-25 Траверса ТН5с 3.407.1-173.1-22 Траверса ТН6 3.407.1-136.01.07 Траверса ТН6с 3.407.1-173.1-22 Траверса ТН7 3.407.1-136.3-26 | Траверса ТН8 3.407.1-136.3-27 Траверса ТН9 3.407.1-136.3-28 Траверса ТН10 3.407.1-143.8.52 Траверса ТН11 3.407.1-143.8.52 Траверса ТН12 3.407.1-143.8.53 Траверса ТН13 3.407.1-143.8.53 Траверса ТН14 3.407.1-136.3-29 Траверса ТН15 3.407.1-136.3-30 | Траверса ТН18 19.0022.1.17 Траверса ТН18 20.0096-13 Траверса ТН18 21.0045-17 Траверса ТН18 ЛЭП98.08-16 Траверса ТН18 ЛЭП98.10-09 Траверса ТН19 19.0022.1.18 Траверса ТН19 20.0096-14 Траверса ТН19 21.0045-18 Траверса ТН19 ЛЭП98.10-10 Траверса ТН19 21.7722-03 |
| Траверса ТН27 19.0022.1.19 Траверса ТН27 21.0112-11 Траверса ТН27 ЛЭП98.08-13 Траверса ТН27 ЛЭП98.10-11 Траверса ТН28 19.0022.1.29 Траверса ТН28 20.0096-15 Траверса ТН28 21.0003-15 | Траверса ТН28 ЛЭП98.08-17 Траверса ТН28 ЛЭП98.10-17 Траверса ТН29 21.0003-16 Траверса ТН03 2.16/6-01 Траверса ТН04 2.16/6-02 Траверса ТН05 2.16/6-03 | Траверса ТН151 3.407.5-141-68 Траверса ТН152 3.407.5-141-69 Траверса ТН153 3.407.5-141-68 Траверса ТН154 3.407.5-141-69 Траверса ТН155 3.407.5-141-69 Траверса ТН156 3.407.5-141-68 Траверса ТН157 3.407.5-141-68 | Траверса ТН01 1.14/6-06 Траверса ТН02 1.14/6-08 Траверса ТН001 128н/1-001 Траверса ТН002 128н/1-002 Траверса ТН9 1.17/3-03 Траверса ТН9п 1.17/3-04 Траверса ТОК2 1.17/3-05 |
Компанія ZavodikNT (ФОП Нестеров А. Ф.) пропонує виробництво та інших металоконструкцій для ЛЕП.
























