Надставки високовольтні МС
Надставки високовольтні МС
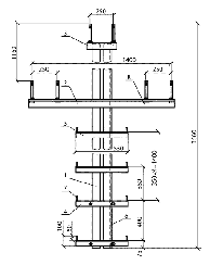
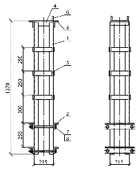
При монтажі повітряної лінії електропередач зустрічаються випадки перетину з іншою лінією, як з ізольованими проводами, так і з неізольованими, а також іншими інженерно-технічними спорудами. У таких випадках виникає необхідність збільшення висоти опор, що встановлюються поблизу місця перетину. Досягається таке збільшення шляхом встановлення надставок високовольтних.
Наша компанія виробляє і інші металоконструкції для ЛЕП.
Адреса та контакти за посиланням Контакти.






