Опис
Характеристики
Інформація для замовлення
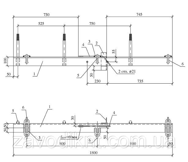
Траверсу ТМ56
Варіанти позначення: траверса ТМ-56, TМ56, TМ-56
Для того, щоб порахувати вартість виробу, масу готового виробу помножень на ціну за 1 кг виробу.
Вага готової конструкції 33,00 кг
Терміни виготовлення! Для кожного замовлення терміни виготовлення прораховуються індивідуально залежно від об'єму. Уточнити деталі можна по одному з наших Контактів.
Траверси ТМ-56 (проєкт 27.0002-21) застосовуються під час встановлення та монтажу проміжних опор для кріплення дротів повітряних ліній 10 кВ. Кріплення цієї траверси на відповідну стійку здійснюється за допомогою хомутів. На стійки типу СВ110 кріплення здійснюється хомутом марки Х-42, а на стійки типу СВ105 — хомутом марки Х-1. Хомути постачаються клієнтам в окремому порядку.

| позиція | Найменування деталі | Кількість | Маса, кг |
| 1 | Куточок 100х100х8 | 1 | 33,00 |
| 2 | Куточок 63х63х5 | 1 | |
| 3 | Круг 16 | 5 | |
| 4 | Круг 10 | 1 | |
| 5 | Круг 30 | 3 | |
| 6 | Серинга С 7-16 | 5 |
Компанія ZavodikNT (ФОП Нестерів А.Ф.) пропонує виробництво й інших металоконструкцій для LEP.
Для нашої компанії важливим є виконання замовлень у заявлені терміни, висока якість виробів і міцні партнерські відносини.
| Основні | |
|---|---|
| Виробник | Власне виробництво |
| Країна виробник | Україна |
| Тип арматури для ЛЕП | Вузол кріплення для ЛЕП |
| Матеріал | Сталь |
- Ціна: від 100 ₴/кг

