Траверсу ТН19
Варіанти позначення: траверса ТН-19, TH19, TH-19
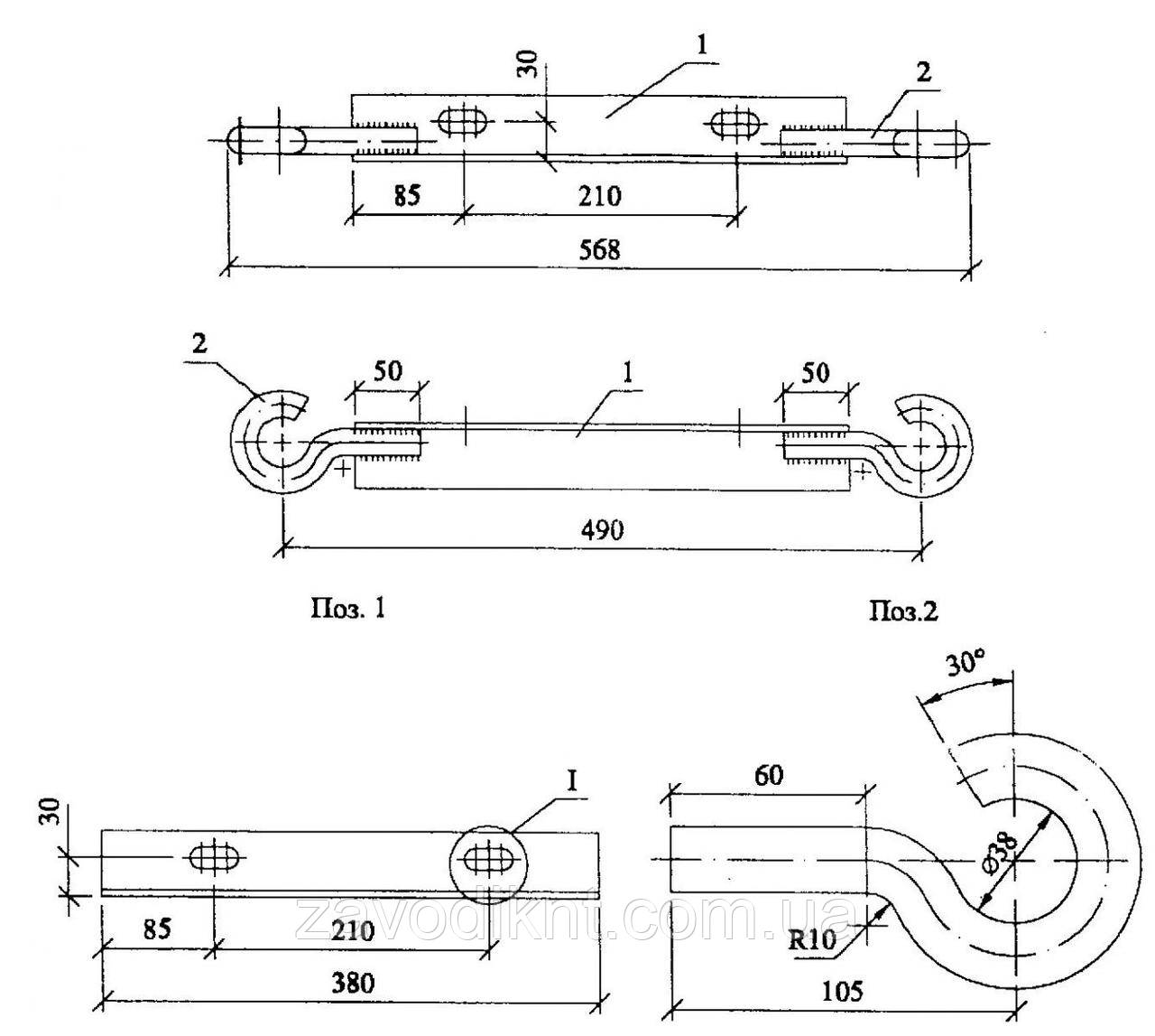
Траверси ТН-19 випускаються відповідно до типовим проєктом 21.0045-18.
Призначенням траверси ТН-19 є кріплення дротів на опорах під час прокладання низьковолтних повітряних LEP номінальним навантаженням 0,4 кВ. Кріплення траверси на опору відбувається хомутом. Хомути мають різні типорозміри для всіх різновидів опор. Так, на опору СВ95 траверса кріпиться хомутом Х-10, на опору НВ105 — хомутом Х-42, і аналогічно для інших опор. Хомути не входять до комплекту постачання траверси. Визначившись із видом опори, необхідно окремо замовити потрібний хомут.
Для того, щоб порахувати вартість виробу, масу готового виробу помножень на ціну за 1 кг виробу.
Вага готової конструкції 2,6 кг

| позиція | Найменування деталі | Кількість | Маса, кг |
| 1 | Уголок 50х50х5 | 1 | 2,60 |
| 2 | Круг 20 | 2 | |
Компанія ZavodikNT (ФОП Нестерів А.Ф.): ТОВ "НеТріс" пропонує виробництво та інших металоконструкцій для LEP.
Наша компанія є прямим виробником арматури для LEP. Вироби виготовляються тільки під замовлення, склад готових виробів немає. Термін виконання замовлення встановлюється залежно від обсягу та складності металоконструкцій. Працюємо як ФОН Нестеров А.Ф. 3 групи без НДС і як ТОВ "НеТріс" з НДС. Вибір форми оплати залишаємо за замовником. Вище нанесений робочий чортонь і специфікація виробу. Більш детальна інформація, актуальні ціни та терміни виконання доступні за контактними номерами телефона, Вайбер або e-mail.
| Основні | |
|---|---|
| Виробник | Власне виробництво |
| Країна виробник | Україна |
- Ціна: від 100 ₴/кг

