Опис
Характеристики
Інформація для замовлення
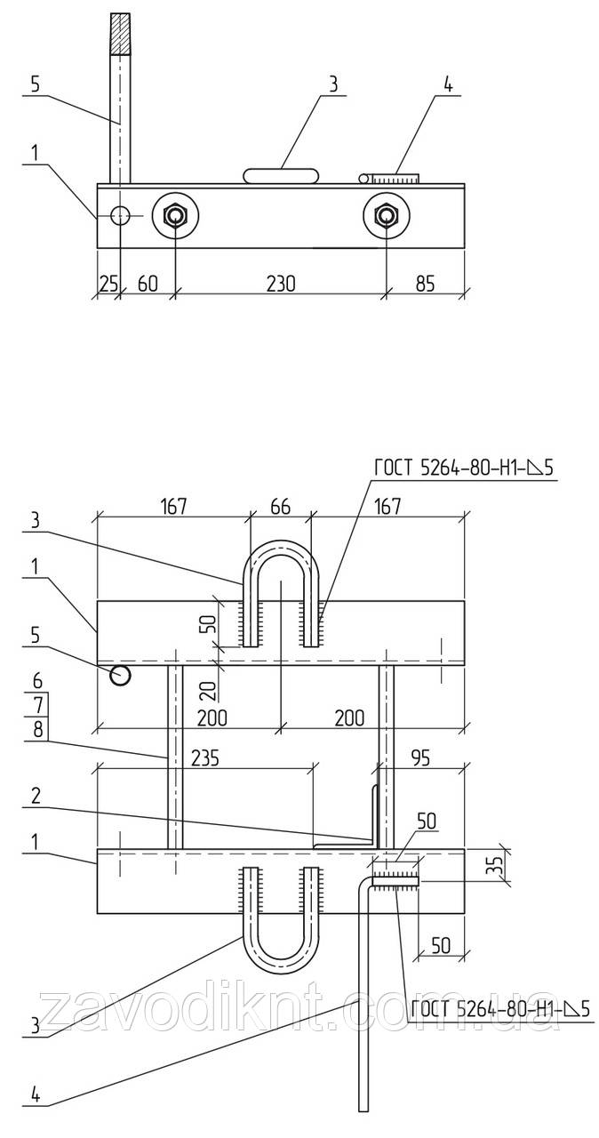
Траверса ТМн20 1.16/6-10
Для того, щоб порахувати вартість виробу, масу готового виробу помножень на ціну за 1 кг виробу.
Вага готової конструкції 7,66 кг
Терміни виготовлення! Для кожного замовлення терміни виготовлення прораховуються індивідуально залежно від об'єму. Уточнити деталі можна по одному з наших Контактів.


Компанія ZavodikNT (ФОП Нестерів А.Ф.): ТОВ "НеТріс" пропонує виробництво та інших металоконструкцій для LEP.
Наша компанія є прямим виробником арматури для LEP. Вироби виготовляються тільки під замовлення, склад готових виробів немає. Термін виконання замовлення встановлюється залежно від обсягу та складності металоконструкцій. Працюємо як ФОН Нестеров А.Ф. 3 групи без НДС і як ТОВ "НеТріс" з НДС. Вибір форми оплати залишаємо за замовником. Вище нанесений робочий чортонь і специфікація виробу. Більш детальна інформація, актуальні ціни та терміни виконання доступні за контактними номерами телефона, Вайбер або e-mail.
| Основні | |
|---|---|
| Виробник | Власне виробництво |
| Країна виробник | Україна |
| Тип арматури для ЛЕП | Вузол кріплення для ЛЕП |
| Матеріал | Сталь |
- Ціна: від 100 ₴/кг


