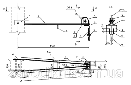
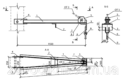
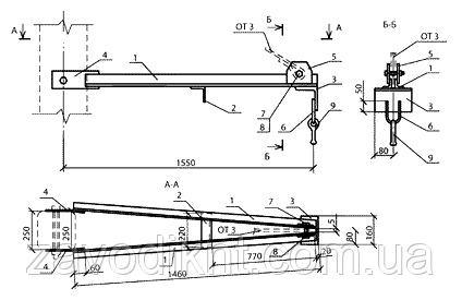
Траверса ТМ16 для ЛІП
Варіанти позначення: траверса ТМ-16, TМ16, TМ-16
Як кріпильне пристрою траверси ТМ-16 до стійки використовується хомут серії Х-1(для стійок типу СВ105) і хомут серії Х-42 (для стійок типу СВ110). Хомути серій Х-42 і Х-1 замовляються окремо.
Для того, щоб порахувати вартість виробу, масу готового виробу помножень на ціну за 1 кг виробу.
Вага готової конструкції 19,03 кг

| позиція | Найменування деталі | Кількість | Маса, кг |
| 1 | Уголок 50х50х5 | 2 | 18,3 |
| 2 | Уголок 50х50х5 | 1 | |
| 3 | Куточок 100х100х8 | 1 | |
| 4 | Смуга 8х80 | 2 | |
| 5 | Смуга 6х100 | 2 | |
| 6 | Петля | 1 | |
| 7 | Болт М20х80 | 1 | |
| 8 | Гайка М20 | 2 | |
| 9 | Сережки СРС-7-16 | 1 |
Компанія ZavodikNT (ФОП Нестерів А.Ф.): ТОВ "НеТріс" пропонує виробництво та інших металоконструкцій для LEP.
Наша компанія є прямим виробником арматури для LEP. Вироби виготовляються тільки під замовлення, склад готових виробів немає. Термін виконання замовлення встановлюється залежно від обсягу та складності металоконструкцій. Працюємо як ФОН Нестеров А.Ф. 3 групи без НДС і як ТОВ "НеТріс" з НДС. Вибір форми оплати залишаємо за замовником. Вище нанесений робочий чортонь і специфікація виробу. Більш детальна інформація, актуальні ціни та терміни виконання доступні за контактними номерами телефона, Вайбер або e-mail.
| Основні | |
|---|---|
| Виробник | Власне виробництво |
| Країна виробник | Україна |
- Ціна: від 100 ₴/кг

