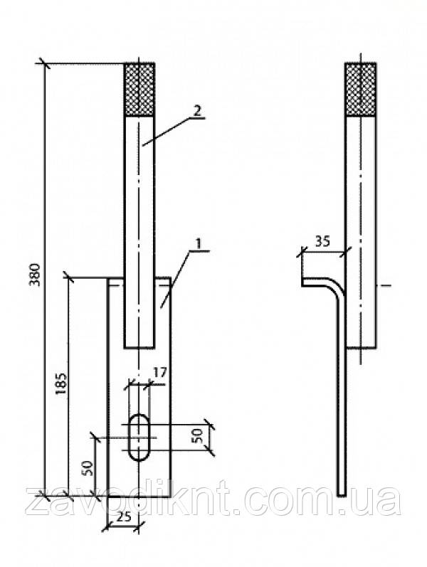
Накладка ОГ5
Під час встановлення анкерних опор (10 кВ) зробити послідовний перехід дроту, протягнутого від однієї натяжної підвіски до іншої, допоможе накладка ОГ-5. На накладці міститься коло з надсічкою для приєднання штирового ізолятора ШФ-20в або ковпачка К-6. Застосовується накладка ОГ-5спільно з накладками ОГ-2. Монтаж накладки ОГ-5 здійснюється на верхньому зрізі опор СВ-105,СВ-110 за допомогою болта Б-5. Болт необхідно замовляти окремо.
Габаритні розміри: 50х50х380 мм
Варіанти позначення: голок ОГ-5, ОГ5, ОГ 5
Для того, щоб порахувати вартість виробу, масу готового виробу помножень на ціну за 1 кг виробу.
Вага готової конструкції 1,1 кг

| позиція | Найменування деталі | Кількість | Маса, кг |
| 1 | Смуга 5х50 | 1 | 1,1 |
| 2 | Круг 20 | 1 |
Компанія ZavodikNT (ФОП Нестерів А.Ф.): ТОВ "НеТріс" пропонує виробництво та інших металоконструкцій для LEP.
Наша компанія є прямим виробником арматури для LEP. Вироби виготовляються тільки під замовлення, склад готових виробів немає. Термін виконання замовлення встановлюється залежно від обсягу та складності металоконструкцій. Працюємо як ФОН Нестеров А.Ф. 3 групи без НДС і як ТОВ "НеТріс" з НДС. Вибір форми оплати залишаємо за замовником. Вище нанесений робочий чортонь і специфікація виробу. Більш детальна інформація, актуальні ціни та терміни виконання доступні за контактними номерами телефона, Вайбер або e-mail.
| Основні | |
|---|---|
| Виробник | Власне виробництво |
| Країна виробник | Україна |
- Ціна: від 100 ₴/кг

