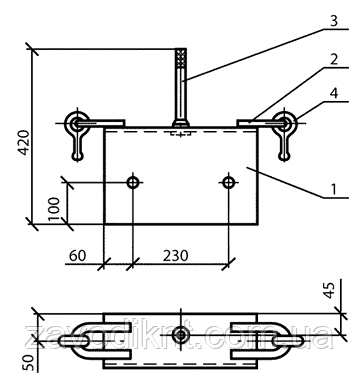
Наголовок ОГ14
Наголовок ОГ-14 слугує для кріплення ізоляційних натяжних підвісок і штирових ізоляторів до анкерних перехідних і кутових опор лінії електропередачі 10 КВ у тих випадках, коли LEP перетинаються з інженерними будівлями та спорудами.
Кожна з двох петель, розташованих на наголовці ОГ-14, забезпечена сережкою типу СРС-7-16.
Варіанти позначення: оголовок ОГ-14, ОГ14, ОГ 14
Для того, щоб порахувати вартість виробу, масу готового виробу помножень на ціну за 1 кг виробу.
Вага готової конструкції 7,6 кг

| позиція | Найменування деталі | Кількість | Маса, кг |
| 1 | Аркуш 6 | 1 | 7,6 |
| 2 | Петля | 2 | |
| 3 | Штир Ш-20-2-К-30 | 1 | |
| 4 | Сережки СРС-7-16 | 2 |
Компанія ZavodikNT (ФОП Нестерів А.Ф.): ТОВ "НеТріс" пропонує виробництво та інших металоконструкцій для LEP.
Наша компанія є прямим виробником арматури для LEP. Вироби виготовляються тільки під замовлення, склад готових виробів немає. Термін виконання замовлення встановлюється залежно від обсягу та складності металоконструкцій. Працюємо як ФОН Нестеров А.Ф. 3 групи без НДС і як ТОВ "НеТріс" з НДС. Вибір форми оплати залишаємо за замовником. Вище нанесений робочий чортонь і специфікація виробу. Більш детальна інформація, актуальні ціни та терміни виконання доступні за контактними номерами телефона, Вайбер або e-mail.
| Основні | |
|---|---|
| Виробник | Власне виробництво |
| Країна виробник | Україна |
- Ціна: від 100 ₴/кг


